.

Muito tempo se passou desde que os smartphones dobráveis foram lançados, e o fator de forma, que muitas vezes é considerado a próxima fronteira em tecnologia móvel, percorreu um longo caminho. Tanto que mesmo A Apple parece interessada em dar uma chance aos dobráveis.
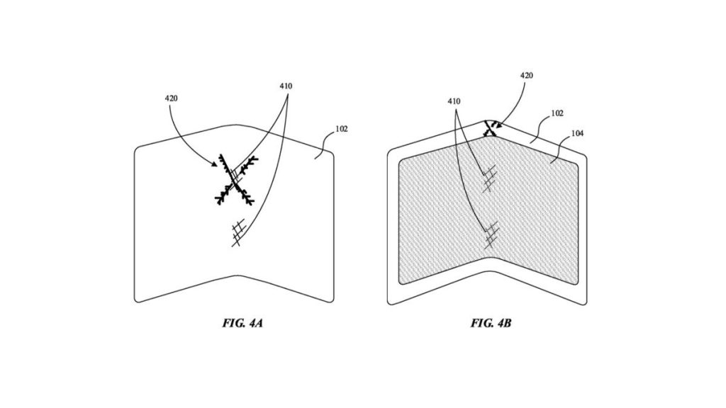
Uma das principais armadilhas com as quais a empresa de Cupertino parece estar preocupada, no entanto, é a durabilidade. Isso é amplamente compreensível – afinal, os dobráveis são notoriamente frágeis.
Recentemente, a empresa obteve uma patente (№US-20230011092-A1) para uma tela dobrável resistente a rachaduras que poderia chegar a vários dispositivos Apple. Esta informação foi apresentada pela primeira vez pela Patently Apple em um artigo dedicado.
A tecnologia pode abordar uma das principais preocupações que os usuários enfrentam hoje quando se trata de dobráveis e, por extensão, potencialmente persuadir mais compradores a experimentar o novo fator de forma. Deve-se notar que esta não é a primeira tentativa da Apple de aumentar a durabilidade da tecnologia dobrável.
Em 2022, a Apple garantiu a patente de uma tela de autocorreção que teoricamente poderia se recuperar de pequenos arranhões, um problema ao qual as dobráveis modernas são particularmente propensas. Enquanto muitos pensam que um dobrável iPhone permanece no reino da imaginação, não teríamos tanta certeza.
Atualmente, os relatórios apontam para um possível iPad dobrável que pode permitir à Apple experimentar a tecnologia e refiná-la. Tendo em vista que o iPad é um produto relativamente menos importante no portfólio da empresa de Cupertino, este parece ser um cenário plausível.
Os dobráveis de primeira geração são um assunto complicado (como a Samsung sabe muito bem) e um iPad dobrável pode dar à Apple a chance de evitar erros muito mais prejudiciais no futuro. Dado que cada vez mais empresas estão a entrar neste novo mercado – com o O Google Pixel Fold é esperado este ano – parece que um dobrável da Apple pode não estar tão longe.
.








