.
A patente mais recente que a Apple solicitou sugere que o anel pode se tornar o hub central para controlar todos os seus dispositivos. Ele pode ser usado para controlar seu iPhone, Mac, HomePod, Apple TV e até mesmo seus eletrodomésticos.


Uma representação de como o futuro anel inteligente da Apple controlaria vários dispositivos. A imagem também mostra uma pessoa usando óculos inteligentes que se parecem muito com o Apple Vision Pro.
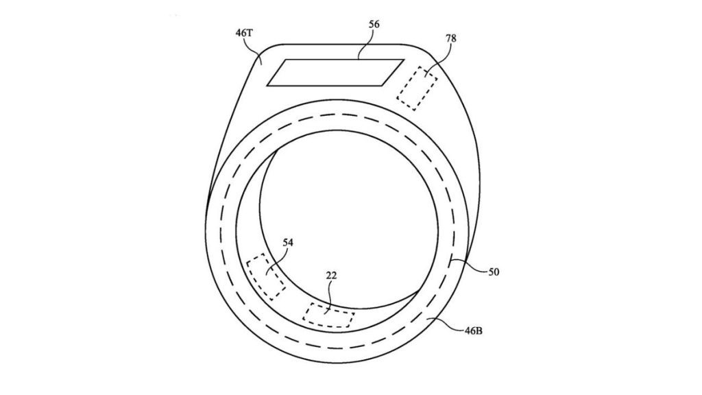
Como isso funcionaria? A patente descreve um anel inteligente equipado com uma variedade de sensores, incluindo sensores de força, sensores de proximidade e até mesmo um microfone. Esses sensores permitiriam que o anel detectasse seus gestos e comandos. Por exemplo, você poderia apontar para sua Apple TV e dizer “mudo” para desligar o som.
Claro, seria mais do que apenas um controle remoto glorificado, com seu outro grande benefício sendo monitorar sua saúde. Por exemplo, ele poderia monitorar sua frequência cardíaca, passos, padrões de sono e, então, apresentar essas informações no seu iPhone ou outros produtos da Apple. Isso soa muito semelhante ao que o Galaxy Ring da Samsung faz.
A Apple também imagina o anel inteligente como um assistente pessoal que vive no seu dedo, disponível o tempo todo. Ele pode ajudar você com tarefas como definir alarmes, enviar mensagens e encontrar seu telefone.
Os anéis inteligentes já existem há algum tempo, mas parece que as grandes empresas de tecnologia estão apenas começando a prestar mais atenção a esse formato como um potencial gerador de dinheiro para o futuro.
Embora ainda não esteja claro quando ou se a Apple lançará um anel inteligente, esta pesquisa mostra que a empresa está explorando vigorosamente novas maneiras de interagir com a tecnologia. É possível que possamos ver um anel inteligente no mercado em um futuro próximo.
A questão é, no entanto, o que isso significaria para um dos produtos mais populares da Apple: o Apple Watch? Pelo que vimos até agora, um anel inteligente não pode substituir exatamente um relógio inteligente, pois não pode fornecer os mesmos dados detalhados. Dito isso, quando a Apple lançar um (se é que isso acontecerá), as coisas podem ter mudado.
.






